Декабр 19, 2019 Кўришлар 14

Apple пытается запатентовать русские навигационные технологии?

Патентное бюро США на прошлой неделе опубликовало заявку компании Apple, в которой описывается «новая» система автомобильной GPS-навигации.

«Новизна» системы состоит в том, что в основе работы системы – информация, предоставляемая самими участниками движения. Аппарат пользователя, оснащенный модулем спутниковой GPS-навигации, не только показывает текущее положение на карте и «ведет» пользователя по маршруту, устройство, оснащенное также интерфейсами беспроводной связи (GPRS/EDGE, 3G, WiFi), отправляет на центральный сервер системы данные об актуальной скорости движения конкретного пользователя, времени прохождения маршрута и т.д. На сервере собирается статистическая картина движения тысяч пользователей, на основании которой формируется карта загруженности дорог («пробки»), которая возвращается обратно участникам движения и учитывается навигационным устройством при прокладке маршрутов движения.


По сути, система, предлагаемая Apple (и уже достаточно давно действующая в России – об этом ниже), имеет весьма важное технологическое преимущество над теми сервисами, которые сейчас широко используются в индустриально развитых странах Запада.

На данный момент на Западе распространена система информирования о дорожной ситуации TMC - Traffic Message Channel. Информация собирается из различных источников (камеры слежения, данные радиостанций, данные экипажей транспортных средств муниципальных служб и дорожной полиции), а затем с центрального диспетчерского пункта передается в открытом FM-канале (попросту говоря, по радио). Информация содержит коды конкретных улиц, на которых обнаружены затруднения в движении (TMC-code) и дополнительные данные о затруднениях. Навигационные устройства, имеющие поддержку TMC, расшифровывают сигнал и учитывают данные о затруднениях при прокладке маршрутов.

Система, распространенная на данный момент

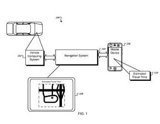
Система, предлагаемая Apple

Предлагаемая Apple система работает на порядок более точно, оперативно и гибко, так как, по сути, является системой второго поколения, основанной на принципе обратной связи от пользователей-участников движения. Такая система помимо собственно актуальной информации о дорожной ситуации в перспективе открывает массу возможностей для развития целого спектра навигационных сервисов. Имея статистические данные движения тысяч пользователей, можно не только собирать актуальную информацию о «пробках», но и предсказывать «пробки» заранее, на основании статистики движения на конкретном участке за длительный период времени. Также появляется возможность оперативной коррекции и актуализации навигационных карт на основании анализа реальных треков движения пользователей. Одним словом, система, предлагаемая Apple, может вызвать настоящую революцию в мире навигационных сервисов и услуг, существенно повысив их качество и точность.

Однако,. Apple немного «опоздала» со своим патентом, так как подобные системы уже работают в России. В частности, уже около года подобная динамическая система сбора информации о дорожном движении работает в сервисе Яндекс.Пробки.

Пионером же в создании таких систем стала питерская компании ООО «МИТ», разработчик навигационного пакета «СитиГид» (CityGuide) и сервиса Пробки.НЕТ. Первая динамическая система сбора информации от участников движения была запущена СитиГид еще в 2006 году. На данный момент в системе помимо «пробочной» функциональности реализовано оперативное обновление навигационной карты на основании данных, предоставляемых участниками движения: карта обновляется в среднем 1 раз в 1-2 недели , в то время, как большинство производителей навигационных программ выпускает обновления централизовано с периодичностью от 1 раза в месяц до 1 раза в полгода, причем зачастую актуальность картографических данных в этих обновлениях запаздывает на 3-6 месяцев.

Поддержка указанных технологий встроена в пакет навигационного ПО СитиГид, который распространяется как на потребительском рынке, так и по ОЕМ контрактам (производителям навигаторов и смартфонов-коммуникаторов).

Уже год, данные, предоставляемые СитиГид, лицензируются сервисом Карты@mail.ru.

Поэтому, основной вопрос, который возникает в связи с новостью о патенте Apple – как компания собирается его реализовывать в мировом масштабе, в частности в России, если она де-факто не является первой (и даже второй!), кто запустил подобную систему? Думаю, в случае оспаривания патента доказать приоритет российских разработчиков особенного труда не составит.


Кўришлар 14

Сахифани кўриш статистикаси:

  • бу ой (Ноябр 2025) - 1;
  • оxирги 3 ой (Август 2025 - Октябр 2025) - 3;
  • оxирги йил (Ноябр 2024 - Октябр 2025) - 4;

Шарҳлар

Админ
Отлично!
Март 28 Админ

Мақолалар ва шарҳлар Барча мақолалар

Подборка лучших бесплатных видеоуроков по программированию для детей и подростков.
Теперь пользователи получают максимум технологий без переплат, что делает апгрейд ...
В статье разбираем, от чего зависит скорость зарядки смартфонов и ...
Узнайте, какие квесты в Ташкенте заинтересуют профессионалов в области IT ...