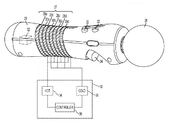
Компания Sony подала в Патентное ведомство США заявку, в которой описывается игровой контроллер, способный изменять собственную температуру в процессе игры, пишет Kotaku. Sony называет контроллер "устройством игрового позиционирования с температурной отдачей".
В заявке описано несколько сценариев использования температуры в играх. Во-первых, контроллер может нагреваться, когда геймер стреляет из игрового оружия. Чем больше выстрелов произведено, тем теплее становится устройство. Если произошел перегрев, оружие может отказать, и чтобы продолжить стрельбу, игроку придется ждать, пока контроллер (и виртуальное оружие) остынут.
Второй сценарий предусматривает нагревание контроллера при поражении игрового персонажа вражеским огнем. В третьем сценарии предлагается использовать "температурную отдачу" для поиска объектов, не видимых на экране. Когда игровой персонаж приближается к такому объекту, контроллер в руках игрока теплеет.
Наконец, контроллер может применяться для охлаждения рук игрока. Если датчики на поверхности устройства выявили, что у пользователя вспотели руки, температура корпуса контроллера понизится.
Заявка Sony (в графе "Изобретатель" значится одно имя - Антон Михайлов) была направлена в Патентное ведомство США в апреле 2011 года. Текст заявки опубликовали 11 октября 2012 года. Представители Sony, с которыми связался блог Kotaku, отказались сообщить, планируется ли (и если да, то когда) выпускать устройство на рынок.

Статистика просмотров страницы:
- за прошлый месяц (Январь 2026) - 8;
- за последние 3 месяца (Ноябрь 2025 - Январь 2026) - 10;
- за последний год (Февраль 2025 - Январь 2026) - 12;